Zum Inhalt springen
Werbung - Warum schalten wir Werbung?
Unterstütze per PayPal

Empfohlene Beiträge

Geschrieben

Hi zusammen,

 

bei meinem guten altem CE9 tuts der Tempomat nicht mehr.

Also die Kontrolleuchte ist an, aber wenn ich den Set-Knopf drücke passiert nix.

Ist ein Automatikwagen, also kann mein Fuss auch nicht auf der Kupplung liegen :-)

 

Vielleicht hat jemand ja noch ne Idee woran das liegen kann.

 

Gruß

Werbung - Warum schalten wir Werbung?
Unterstütze per PayPal
Geschrieben (bearbeitet)

hi @tittus,

ich habe leider zu ce9 nicht viel gefunden und musste deswegen meine vermutungen hier auf grund anderer schaltpläne/beschreibungen für cc/cb usw... anstellen.:cry:

 

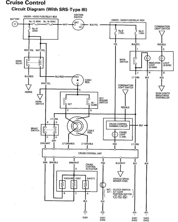
wenn kontrollleuchte leuchtet, bedeutet das nur (laut stromlaufplan), dass hauptschalter (main switch) betätigt wurde und dadurch die leuchte (indicator light) die spannung bekommen hat und Fahrtregler-Steuergerät (cruise control unit) unter 12V steht/halt betriebsbereit ist/sein sollte.

 

fehlfunktion eines tempomates kann VIELE verschiedene ursachen haben.

Fahrtregler-Steuergerät empfängt seine verschiedene signale von:

- dem Bremsschalter (brake switch)

- dem Geschwindigkeitssensor (speed sensor)

- dem Schaltpositionsschalter (position switch, Automatik)

- schalter (set, resume)

- stellglied (cruise control actuator)

falls ein signal davon fehlt (schalter/teil kaputt, leitung unterbrochen), Fahrtregler-Steuergerät wartet vermutlich.

 

...falls letzte zeit/vor kurzem niemand an deinem wagen etwas umgebaut/verändert hat, würde ich einfach prüfen ob alle stecker/schalter/sensoren/verbindungen richtig sitzen und kein kabel beschädigt/keine verbindung unterbrochen ist.

 

...ausserdem müsste man überprüfen, ob stellglied und sein seilzug noch ok ist und stellglied unterdruck bekommt (er will vielleicht aber nicht mehr kann...bissle aufwendig).

dazu musst du unterdruckschlauch vom stellglied abziehen und deinen finger auf die öffnung des schlauchs halten währen der motor im leerlauf läuft...

wirkung: finger wird (wegen des unterdruckes) gegen die öffnung gesogen, dabei sollte ein zischendes geräusch hörbar sein. (alles theorie)

 

...so sollte es sein...ansonsten sind viele anderen sachen wie schalter zu überprüfen.

grüsse :wink:

1701535183_schalter-prfen.thumb.jpg.520619bf0940d0a08f3ead28de6ff1dc.jpg

stromlaufplan-ce.thumb.jpg.2b9df82e3f4d3ce48856c093bf09d293.jpg

Bearbeitet von kardynau

image.gif.226feb1f813ebeb4ebe8eaea4887c510.gif  I-I O N D A - ich will nichts anderes  image.gif.fb899f5523d546b58d3903759448a794.gif

Geschrieben

Hi,

wow erstmal danke für deine Antwort. Das ist das was mir fehlte. Ein Stromlaufplan. Dann begebe ich mich mal auf die Suche, wenn es die Zeit zulässt. :-)

 

Aber ich halte dich auf dem Laufenden, was sich so ergibt.

Nochmal danke für die Info's,

 

Gruß Tittus

  • 4 Wochen später...
Geschrieben

hallo

also ich hatte auch das Problem das mein Tempomat auf einmal nicht mehr ging!

hatte mich dann auch nicht weiter darum gekümmert, bis meine Motorkontrollleuchte immer mal an ging! Da merkte ich dann das ein Mader mir 2 Unterdruckschlaüche durchgebissen hat!

nach der Reparatur ging auch wieder der Tempomat, vielleicht ist es bei dir ja auch nur so eine kleinigkeit!

 

Gruß Hatzl

Gruß Hatzl

 

Accord CE9

 

 

*rechtschreibfehler wurden absichtlich zur belustigung beigefügt,

wer einen findet, darf ihn natürlich behalten* ;)

Dein Kommentar

Du kannst jetzt schreiben und Dich später registrieren. Wenn Du ein Konto hast, melde Dich jetzt an, um unter Deinem Benutzernamen zu schreiben.
Hinweis: Dein Beitrag muss vom Moderator freigeschaltet werden, bevor er sichtbar wird.

Gast
Auf dieses Thema antworten...

×   Du hast formatierten Text eingefügt.   Formatierung jetzt entfernen

  Nur 75 Emojis sind erlaubt.

×   Dein Link wurde automatisch eingebettet.   Einbetten rückgängig machen und als Link darstellen

×   Dein vorheriger Inhalt wurde wiederhergestellt.   Editor leeren

×   Du kannst Bilder nicht direkt einfügen. Lade Bilder hoch oder lade sie von einer URL.

×
×
  • Neu erstellen...

Wichtige Information

Wir haben Cookies auf Deinem Gerät platziert. Das hilft uns diese Webseite zu verbessern. Du kannst die Cookie-Einstellungen anpassen, andernfalls gehen wir davon aus, dass Du damit einverstanden bist, weiterzumachen.