Werbung - Warum schalten wir Werbung?
Unterstütze per PayPal
kaefergarage.de
Super-Moderator-
Gesamte Inhalte
2.451 -
Benutzer seit
-
Tagessiege
1
Inhaltstyp
Profile
Forum
Kalender
Alle Inhalte von kaefergarage.de
-
Verkaufe oder tausche meinen Accord Tourer CTDI
kaefergarage.de antwortete auf Serikpaj's Thema in Fahrzeugmarkt
Ich weise darauf hin, dass Preisdiskussionen in keinem Thread was verloren haben (vgl. AGB 2.5.10 )! Dafür ist die Funktion der zu PN nutzen! Beiträge sind deshalb gelöscht -
originalalufelgen ce 2
kaefergarage.de antwortete auf kuschelkater78's Thema in Accord CC & CE (Bj. 91-98)
Ich habe noch zwei Sätze Alufelgen liegen. Diese: Gab es so original in USA / GB für den Aerodeck (siehe auch den Bausatz in 1/24 - dort sind sie dabei) und in Europa auf dem Coupe - da sind meine auch her. Eintragungsfrei. Weiterhin kann ich einen Satz von diesen Felgen anbieten: Hier sind mir leider die Deckel abhanden gekommen. Evtl noch neue Radschrauben. Die waren am Wagen dabei, als er verkauft wurde. Abzuholen wäre super: Osnabrück. Ansonsten müssten wir schauen, ob wir uns evtl. auf dem Weg Osnabrück - Bonn an der A1 treffen können. -
So was alles kann man auch gerne per PN klären :p
-
Honda Accord SY BJ 1982
kaefergarage.de antwortete auf Karsten's Thema in Accord "Oldy" & CA & CB (Bj. 86-94)
:)):)) Ein Hatchback also - kenne ich Dich aus dem Youngtimerforum ;)? Der SY ist ein schöner Accord. Wenn man mal den Quantensprung im Design des Vorgängers SJ betrachtet, wirkt dieser schon recht erwachsen. Der SJ ist niedlich, der SY erwachsen. Stämmt die Nase gut in den Wind 8) Ich steh auf die alten Accord - auch wenn ich Limousinen bevorzuge ;) Dein SY ist sehr sehr schön und ich wünsche mir für meinen, dass er eines Tages genau so schick auf den Rädern steht. -
Honda stellt den Accord in Deutschland ein!
kaefergarage.de antwortete auf Civic AL's Thema in HONDA-News
Ach deswegen hat der Lexushändler in Osnabrück seine Pforten geschlossen! Ich dachte, der baut um :D -
Klimaradiator hat Lamellen verloren
kaefergarage.de antwortete auf maggo's Thema in Accord CL7/9 & CM & CN (Bj. 03-07)
-
Du hast eine Mail :))
-
Schalter Warnblinkleuchte "beleuchtet"?
kaefergarage.de antwortete auf Vulcan_TBB's Thema in Accord CL7/9 & CM & CN (Bj. 03-07)
@Rolf Ich könnte wetten, dass der bei jedem Accord beleuchtet ist. Mein CE lampte auch - und das mit den defekten Lämpchen kenne ich auch. Klar. Beim 1. Accord 100%ig nicht beleuchtet. War nur ein Schiebeschalter :D -
Klimaradiator hat Lamellen verloren
kaefergarage.de antwortete auf maggo's Thema in Accord CL7/9 & CM & CN (Bj. 03-07)
Das mit dem Kühler kann im Alter passieren. Solange der dicht ist.... Bei meinem älteren Accord hatte mich das nie gestört. War noch dicht, hatte gekühlt. Das Wechseln ist i.d.R. in einer Stunde gegessen. Oben geschraubt, unten im Träger gesteckt. Schläuche und Lüfterkabel ab und raus damit. Lüfter können beim ausgebautem Zustand komplett in einem Abwasch umgebaut werden. -
Dazu kann man einfach das Team anschreiben und die erledigen das. Die Beiträge allerdings werden aller Voraussicht nicht gelöscht werden. Denn aus Erfahrung wissen wir, dass dadurch Threads unleserlich und zusammenhangslos werden können. Dein Mitgliedername verschwindet allerdings. Ich gebe das weiter
-
Wo kommst Du her? Ich habe in OS noch einiges für den CE2 liegen (original aus Japan / USA) oder auch Dachträger, zwei Sätze Alufelgen etc. (Teile hier , hier & hier , Alufelgen hier & hier ). Die meisten Teile auf den Bildern sind noch da. Dafür möchte ich allerdings einen Komplettpreis. Einzelteile nicht unbedingt verkaufen. Federn habe ich auch noch - Blaue 3/4cm Schick mir am Besten eine email ;)
-
Honda stellt den Accord in Deutschland ein!
kaefergarage.de antwortete auf Civic AL's Thema in HONDA-News
Da stimme ich Dir vollkommen zu ;) Bei uns in Deutschland ist das Hauptproblem, dass viele Hersteller hier sind. Dadurch, dass es in der Schweiz oder auch Österreich kaum eigene Produzenten gibt, finde ich Verkaufszahlen in solchen Ländern weitaus mehr aussagekräftig als hier. -
Wenn Du den Aerodeck mit gelben Blinkern vorne hast, sitzt seitlich zum Grill hin eine Schraube. Da solltest Du den Blinker abbekommen. Bei weißen Blinkern müsste die Schraube sichtbar im "Glas" sein. Bei der Stoßstange sind ein paar mehr Schrauben zu lösen. Vielleicht hilft Dir das Bild: Bilder deines Schätzchens würde ich allerdings auch gerne sehen. Selten genug ist der Aerodeck ja generell :)
-
Bremsen beim Accord wechseln
kaefergarage.de antwortete auf tomas12's Thema in Accord CG & CH & CL3 (Bj. 98-03)
Sauber Finde ich gut :)) -
Ich habe für den Accord AD ein paar Heckleuchten angeboten bekommen (Originalteile, neu) bei eBay-Kleinanzeigen gibt's auch Bilder dazu -> Anzeigennummer 184734930 Meines Wissens passen sie auch nur an die Limousine und nicht an den Hatchback. Für Neugierige: der Accord AC/AD ist von ca. 1985-1986 produziert worden ;) Da sie nicht an meinen SY passen, werfe ich das Angebot hier in die Runde. Preislich sollen sie um 150 Euro kosten. + Versand Zusätzlich hat er noch einen rechten Scheinwerfer für einen Accord CB. Originalteil, kein Nachbau. Wichtig: augenscheinlich sind sie vom Vor-Facelift. Denn so einen Accord hatte er. Passen aber auch nach dem Facelift - die Standleuchten müssen dann nur auch ausgetauscht werdne ;) Preislich bewegt er sich bei 100 Euro zzgl. Versand. Ich weiß, es sind nicht meine Teile. Aber Manfred musste leider wegen MS seinen Accord her geben und hat noch die Teile gefunden. Ich hätte die Schlussleuchten gerne genommen, aber sie passen nunmal nicht am SY und ich möchte ihm helfen, dass sie in gute Hände kommen. Bitte hier anrufen: 0160-7382719 (Manfred) oder per mail über ebay mit ihm Kontakt aufnehmen.
-
Honda stellt den Accord in Deutschland ein!
kaefergarage.de antwortete auf Civic AL's Thema in HONDA-News
Wo Honda das Geld lässt, ist sowieso irrelevant. Anscheinend geht es ihnen wieder gut genug. Sonst würden sie das Geld ja wohl immer noch zum Erhalt der Marke verwenden. Sie sind ja nicht grundlos aus der Formel 1 ausgestiegen - wir erinnern uns, oder? Im Grunde kann man sogar über den Wiedereinstieg froh sein! Vielleicht wird dadurch die F1 wieder aufregender. Denn mal ehrlich: so langweilig wie die letzten Jahren war sie m.E. noch nie. Das sich der Accord hier leider nicht mehr so gut verkauft, muss man eben akzeptieren. Es ist nicht schön, aber wenigstens reagieren sie und verblasen hier nicht unnötig Geld. Weiterhin sollte sich jeder Hondafahrer mal vor Augen führen, welche Rolle Deutschland für Honda spielt. Eben. Keine. Asien und USA sind ihre Märkte. Und zB in den USA ist der Accord 11 Jahre in Folge das meistverkaufte Auto seiner Klasse und der CRV sogar weltweit bestverkaufter SUV. So schaut es nämlich aus. Welche Rolle also spielt dann Deutschland? -
Sobald man bepulverte Schrauben anzieht, sieht man immer einen Werkzeugabdruck. Sowieso, wenn der Drehmomentschlüssel zum Einsatz kommt. Pulverbeschichten ist für Schrauben nicht optimal.
-
ABS Sensor für den CG8
kaefergarage.de antwortete auf Oberfranke1's Thema in Accord CG & CH & CL3 (Bj. 98-03)
@Frank Unter den Typen (Generationen) wechseln wird nicht funktionieren. Es sind schon bei den CE untereinander Unterschiede zwischen Limo und Coupe / Aerodeck (Kombi) -
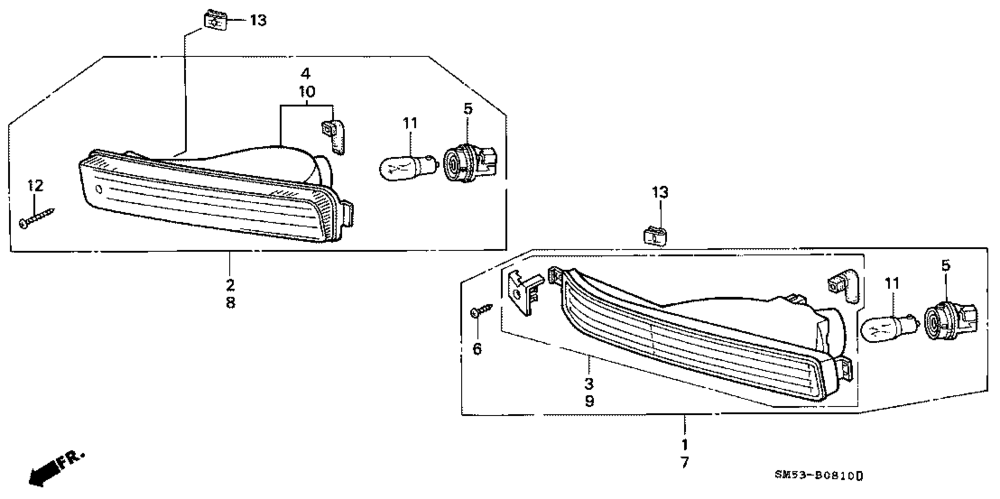
Suche Skizze vom SRS Kabelbaum
kaefergarage.de antwortete auf grizzly42's Thema in Accord CL7/9 & CM & CN (Bj. 03-07)
1 BAND, WIRE HARNESS OFFSET (20) (BLACK) (122.5MM) 2 REEL ASSY., CABLE (FURUKAWA) 3 SENSOR ASSY., FR. CRASH (TRW) 4 SRS UNIT (TRW) 5 HARNESS, SIDE CURTAIN AIRBAG SUB WIRE (INCLUDE FEEDER) 6 SENSOR ASSY., SIDE IMPACT (TRW) 7 SENSOR ASSY., SIDE IMPACT (TRW) 8 MODULE ASSY., R. SIDE CURTAIN AIRBAG 10 MODULE ASSY., L. SIDE CURTAIN AIRBAG 11 BRACKET, FR. GRAB RAIL 12 BRACKET, RR. GRAB RAIL -
CG9 Innenraumtemperatursensor
kaefergarage.de antwortete auf xN3G4TiV's Thema in Accord CG & CH & CL3 (Bj. 98-03)
Ein Bild sagt mehr als tausend Worte ;) 1 SENSOR, SUN BEAM 3 SENSOR, AMBIENT 4 SENSOR ASSY., IN CAR *NH167L* (farbiges Teil) -
Informationen werden benötigt
kaefergarage.de antwortete auf babyboy67's Thema in Accord CG & CH & CL3 (Bj. 98-03)
Ich möchte hier nochmal einhaken und endlich vielleicht mal dieses VW-Wissen aus der Welt schaffen und euch die Hondawelt ein bisschen näher bringen!! Nein, die Wasserpumpe und Spannrolle muss n i c h t mit gewechselt werden! Das habe ich schon so oft hier geschrieben und viele überlesen das einfach? Nein! Die Wasserpumpe ist im Gegensatz zu allen anderen Herstellern aus Metall und hat keine billigen Kunststofflager oder Flügelchen wie BMW oder VW. Da verschleißt nichts! Ich bin nicht der Einzige, der das bestätigen kann: eine WaPu nach 300t km sieht immer noch neuwertig aus! Warum soll man solche Teile dann wechseln? Nur weil es der Händler sagt? Es ist total überflüssig solange die Pumpe dicht ist, die überhaupt anzufassen. Und das bestätigt dir auch der Hondahändler, der Ahnung von der Technik hat. Und warum die Spannrolle? Wenn die nicht verschlissen ist, kann die auch drinnen bleiben. Ich hatte 330tkm (16 Jahre altes Auto) drauf, der Wagen meiner Eltern 260tkm (17 Jahre) und noch nie so einen Tausch vorgenommen. Weil es überflüssig ist. Also verabschiedet euch davon, die WaPu zu tauschen. Spart euch das Geld und geht mit euren lieben einfach mal Essen. Davon habt ihr mehr. -
Vanessa verkauft ihren Accord CB3 2.0i
kaefergarage.de antwortete auf Diabla's Thema in Fahrzeugmarkt
Bevor es ausartet..... -
AGB 2.5.5 beachten. Deshalb geschlossen. Interessierten steht der Weg zur PN immer noch frei ;)
-
Gerüchteweise hörte ich, dass der upload nicht funktionieren solle, konnte das aber nicht bestätigen. Ich würde es begrüßen hier auch Bilder zu sehen. Externen links folge ich zumindest grundsätzlich nicht. Wer was verkaufen will, kann sich auch ein wenig anstrengen.
-
Ausnahme erteilt ;)
